·Die lösbare Schraubverbindung zwischen Spreizelement und Spindel ermöglicht eine einfache Demontage sowie die Wiederverwendbarkeit des Spindelbolzens.
· Der robuste, wiederverwendbare Spindelbolzen gewährleistet eine lange Nutzungsdauer.
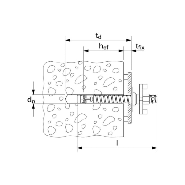
· Das Wirkprinzip des Bolzenankers ermöglicht ein aktives Nachspreizverhalten und bietet dadurch hohe Sicherheit.
· Der grosse Stahlquerschnitt sorgt für hohe Querkrafttragfähigkeit und so für hohe Sicherheit bei ruckartigem Stillstand der Bohrkrone.



