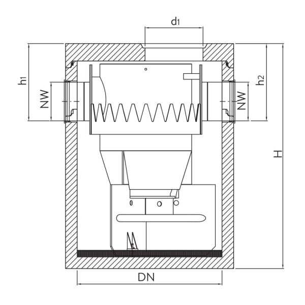
Die Sedimentationsanlage, die Zähne zeigt. Der friwa®-sed HydroShark ist eine Sedimentationsanlage, die das Wasser in der Mitte des Systems tangential einleitet, wodurch der sogenannte Teetasseneffekt die Sedimentation der Feststoffe stattfindet. Aufgrund von bestehenden Labor- und Feldversuchen können folgende Wirkungsgrade von 50 bis 80% erzielt werden. Das Erreichen des Wirkungsgrades bzgl. Rückhalt von GUS und demzufolge von Mikroplastik ist vom Volumenstrom im Zulauf abhängig, demzufolge von der angeschlossenen Fläche.
Um die anzuschliessende Fläche zu bestimmen, müssen die Regendaten bekannt sein. Aufgrund den Regendaten kann die Regenspende bestimmt werden, dass die geforderte Reinigungsleistung bei einer hydraulischen Leistung von 90% aller Regen erreicht werden kann. Aufgrund dieser Vorgabe kann die zulässige Anschlussfläche bestimmt werden. Bei der Auslegung der Baugrösse des friwa®-sed HydroShark muss ebenfalls der maximale hydraulische Durchfluss des Anlagetyps berücksichtigt werden.



